Выбираю IP-KVM. Кто и какой использует?

У меня тоже возникло ощущение, что на их скринах pikvm изображен

Ну тут iLo и подобные мы не рассматриваем, при всей моей любви к миникам полноценный мониторинг на уровне железки на несколько голов выше всех этих нашлепок в виде отдельного устройства.

И я даже взял себе несколько ttl → rs232 адаптера для того, чтобы подключить к ip-KVM порту, но потом у меня закончились компуктеры с ком портом, linux тут прям очень удобно работает с последоватеьным портом и у меня он включен как во всех виртуалках, так и на всех компах с rs232
А тот же pikvm вроде умеет терминал, в NanoKVM есть 2 порта, которые через переходники можно завести на 2 железки, что очень удобно и в веб интерфейсе есть терминал

Ох, я поискал, там все дорого из нормального, если есть прям проверенные и рабочие решения, то лучше прям конкретными ссылками ибо, если смотреть в сторону старых iLo, то там раньше было построено на java/flash апплетах, которые работают только под вин2000 + IE6, чтобы под html5 на современных браузерах, подозреваю, что за 2 копейки есть шанс нарваться на такое железо, его и продают то потому, что уже использовать невозможно.

есть готовые адаптеры

нет, я говорю именно о выводе bios на консоль, не об отдельном BMC (типа iLo/iDRAC/IPMI).

эта фича обычно называется serial console redirection. примеры:

особняком стоит опция Intel vPro/AMT (конкретно фича Serial-Over-LAN (SOL)):

Да, интересная штука на 4 порта, но я брал такие https://ali.click/dre5017
В IP-KVM именно ttl порт, поэтому без промежуточного USB и дешевле

не знал, интересно

Ну вопрос в том, работает ли оно, я с китайским железом когда начал работать, то понял насколько оно убогое по сравнению в вендорами. Там часто зашит дефолтный BIOS в котором есть все, что только может быть, тюнингом под реальную железку мало, кто занимается. У меня миник, в котором и куча sata портов, и 2 сетевушки и ифакрасный порт, и какие-то аудио-интерфейсы и даже экран чик и NFC прописаны, по факту же он даже не может настроить частоты оперативки

но там есть усб же, можно будет прописать в конфиге квм что-то типа /dev/ttyUSB0

у меня работает на этой штуке

https://cwwk.net/products/13th-gen-new-soft-router-2-10g-sfp-4x-intel-i226-v-u300e-i5-1240p-8x-2-5g-lan-2-sata-firewall-appliance-mini-pc-proxmox-server

биос там и правда навороченый, даже в серверных платах нет столько настроек

1 лайк

я изучал в основном варианты Aten KVM и немного HP, в других брендах не разбираюсь.

на 4 порта считаю нет смысла брать, как минимум 8 или лучше больше. у Aten полно серий с разным набором ф-ций, просто поддержка USB мыши/клавиатуры даже не у всех есть. для себя я определил такие группы:

KVM удаленным подключением по LAN:

  • KN****V/KN****VA модели - подключение по LAN, поддержка проброса USB на управляемый пк, возможность одновременно локальной работы и по LAN удаленно, по функциям самые мощные, дорогие и редко вижу на вторичном рынке

просто KVM (не поддерживают подключение к сети напрямую):

  • Aten KH серия - большинство поддерживают USB мыши/клавиатуры а также проброс USB устройств. KH серия это KVM over CAT кабели, те kvm подключается не напрямую по VGA/HDMI+USB а через спец. адаптер - хорошо с тз кабель менеджмента, плохо - дороже, нужно еще адаптеры покупать
  • CS18216/CS19216 - актуальные модели, на 16 портов HDMI + USB 3.0, дорогие
  • CS17916/CS1716A - аналогично, актуальные но более простые, на 16 портов HDMI/VGA, дорогие

конкретные примеры:

  • CS1716A - 16 портовый KVM с поддержкой USB и пробросом usb устройств на “жертву” - 19990р
  • CS1798 - 8 портов HDMI, поддерживает проброс USB - 18000р
  • CS1308 - 8 портов VGA, поддержка USB, нет проброса - 3000р - простая модель, но хорошая цена как за 8 портовый KVM

интересные калькуляции :slight_smile: :

возьмем за основу самый дешевый китайский NanoKVM и задачу обеспечить управление 16 ПК:

итого:

(все 3 варианта просто для демонстрации цен. все они имеют недостатки - скорость сети до NanoKVM, нет управления power on/reset кнопками)

вариант №1 - еще нужны корпуса для NanoKVM или как то смонтировать их, а так же коммутатор на более 16 портов. спагетти из проводов в любом случае обеспечено

вариант №3 - держится на условии каскадное подключение у no-name KVM работает и еще нужно будет приколхозить как то переключение между несколькими kvm. так же спагетти из проводов

вариант №2 - вполне приемлем, относительно компактен. к чему я и призываю - не отбрасывать вариант с промышленными KVM

я пока не нашел подходящий мне вариант на б/у рынке. для экспериментов пока заказал no-nane KVM из обзора от Павла.

1 лайк

Интересное сравнение, а Aten KVM умеет параллельно со всеми портами работать или там внутри тоже свитч стоит?

Если сравнивать сценарии использования NanoKVM, то я слышал/могу придумать

  1. Единичный комп, народ даже для тех поддержки офисных использует
  2. Единичное обслуживание серверов, например, я пользую для миников, когда лень тянуть hdmi кабель - подключил, установил ОС и положил на полку
  3. IP-HDMI, например, пробовал подключать камеру, а в OBS указывается адрес видеопотока
  4. Какие-то мелкие инстанции, например, думал подключить к своему PVE кластеру из 3-4 миников, но это уже блажь какая-то, для хоумлабинга, в целом, можно для нескольких серверов в серверной.
  5. Последовательный порт, когда нет кабеля/желания тянуть до железа, например, “цисковская консоль”

Но по поводу серверной

  1. у меня в одной было 2 сервера и роутер, причем сервера обычные десктопные тауэры, там прям бюджетная сборка.
  2. В другой серверной, хоть и supermicro и ibm, но все старое, без нормального управления, и без доп панелей. Максимум, что получалось получить это IPMI минимальный
  3. А что-то более профессиональное либо имеет уже нормальные BMC, либо IP-KVM уровня Aten, но сколько % этого пункта в хоумлабинге?
    Думаю, что для дома варианта NanoKVM+KVM Switch большинству хватит за глаза.

в деталях - не знаю, нет опыта работы с этими девайсами, только присматриваюсь к ним. из описания и мануала как я понимаю внутри свитч, но есть режимы:

  • “Auto Scan Mode for monitoring all computers“
    • Auto Scan automatically switches, at regular intervals, among all the KVM
      ports that have been set as accessible under Scan–Skip Mode, so that their
      activity can be monitored automatically.

  • “Independent switching of KVM and USB focus“
    • Switches USB focus only directly to the computer that
      corresponds to that port ID.

у меня персонально есть сценарии:

  1. multiroom audio/video - в разных комнатах есть как источники, так и приемники hdmi+usb (по сути тот же KVM) и нужно динамично переключать источники-приемники, в идеале с режимом многие-к-1. подобно как реализует автор канала: https://youtu.be/isqlWMeibuA?si=9SFWSYLV3Iv71h1b
  2. несколько кластеров железок/серверных шкафов в пределах одного здания, которые желательно менеджить централизовано. тут желательно иметь систему из неск-ких устройств “передатчик KVM” и одно устройство “приемник KVM” на “пульте оператора”

я пока не нашел способа реализовать это дешево, просто, из (полу-)готовых компонентов. требования очень высокие:

  • в идеале это должны быть девайсы с раутингом (не KVM over CAT cable, а именно ethernet IP стек), маршрутизируемым по IP или к примеру с протоколами типа Dante, HDBaseT
  • нужна поддержка высоких разрешений и битрейта, как минимум 1080p@60ghz
  • low latency
  • желательно power over ethernet

Nano/Jet/Pico/GL/Pi-KVM частично подходят под это ТЗ, но с latency проблемы у всех и нет единого UI из которого можно управлять множеством kvm и переключать источники-приемники сигнала

Ну да, тут уже ближе к мультимедийным системам за кучу денег, подобные системы устанавливаются в конференц-залах.

Можно, наверное, собрать наколенке с каким-то общим интерфейсом, но задержки будут огромнейшие
Я к тому, что получить rtsp котоки, потом сделать роутинг их, потом получателей организовать.

«Крутая технология» учитывая что для её работы сервер должен быть подключен к монитору. Я в свою очередь вылечил это заглушкой для dp порта. А недавно узнал что она не работает с видеокартой. Ну или с моей видеокартой

Я слышал где-то на YT, что jet-kvm как раз будет двигаться в этом направлении. Но по мне пока железка дороговато стоит, так ещё и порт оказывается сотка всего

как я понял, подключение монитора не требуется. компьютер вообще не обязательно должен быть включен, достаточно что блок питания подает дежурное напряжение на материнку. Intel vPro/AMT это технология ближе к серверным BMC, по сути отдельный компьютер (микрокод в cpu) в компьютере

Оно не требуется, если не требуется вывод картинки, то есть включить, выключить и перезагрузить сервер можно и без этого. Но если нужно удалённое управление, то будьте добры подключить монитор. Если бы я не пользовался этой технологией, то не писал бы) Ну и тему я создал, как раз из-за того что Intel AMT не справляется с задачей

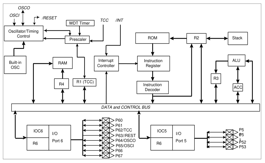
ковырялся в старых фотках и нашел фотку своего аналогового переключателя квм усб + вга
решил сюда закинуть для понимания устройства таких штук

я там подписал микросхемы для понимания
видно место для еще одной кнопки (наверное назад) и пищалки

ch444g 4х канальный коммутатор 4 входа на 2 выхода

путем 4х комбинаций 0 и 1 на управляющих входах мы можем к одному выходу один из входов

внизу самом микросхема хаба усб 2.0

всем управляет однократно программируемый 8 битный контроллер EM78P153K

как видите - все очень просто

если у вас есть компутеры с вга и пс\2, то такими многоканальными переключателями можно тоже легко управлять, допилив туда свой контроллер

мне он не нужен, так что выставлю на продажу, уже давно фотку сделал, а все никак не выставлю

у меня был 8 канальный, но я его выкинул, т.к. он для серверов был и это был не ип квм, к тому же провода от него выкинули

примерно так выглядел, только на 8 каналов

upd свич продал за 3 дня всего и за 20 евров, ну он так и стоит на ебее и вроде бы я его за столько и брал

случайно на ебее увидел такой свитч

VEDINDUST HDMI+Displayport KVM Switch 2 PC 2 Monitors 8K@60Hz 4K@120Hz Aluminium KVM Switches

чисто даже для дома - второй компутер подключить быстро для тестов или кто попросит переставить систему